
Компания Apple зарегистрировала новый патент, который позволит избежать проблем с тактильностью в сенсорных клавиатурах. Об этом сообщает портал Digital Trends.
Известно, что корпорация уже давно размышляет над внедрением сенсорных клавиатур в компьютеры Mac, что позволит уменьшить толщину устройства за счет отказа от физических кнопок.
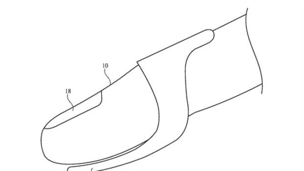
Однако у таких клавиатур есть одна серьезная проблема — пользователь не будет чувствовать тактильный отклик из-за сенсорной системы.В этой связи в Apple работают над своеобразными накладками-наперстками, которые нужно будет надевать на пальцы. Устройство будет имитировать нажатие на физическую кнопку и снизит износ сенсорной клавиатуры, так как пользователю не нужно будет сильно нажимать на клавиши ради тактильных ощущений.
Пока неизвестно, будет ли патент от Apple воплощен в жизнь. Не исключено, что появление наперстков совпадет по времени с выпуском первых настольных устройств с сенсорной клавиатурой, о которых пока нет никакой информации.
Ранее "Газета.Ru" рассказывала о том, что Apple отчиталась о падении чистой прибыли на 13% в первом квартале/
Свежие комментарии