
В России сертифицирована вторая модель возрожденного бренда Volga - седан Volga C50. На автомобиль оформлено Одобрение типа транспортного средства (ОТТС) - основной сертификационный документ, позволяющий начать массовое производство и официальные продажи. С документом ознакомилась "Газета.Ru".
Согласно ОТТС, производителем Volga C50 значится компания "Нижегородские легковые автомобили".
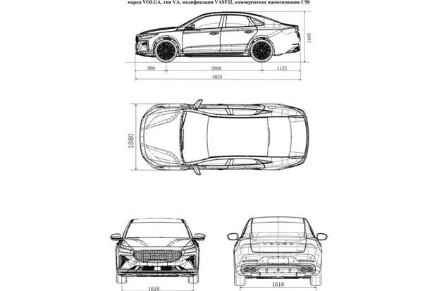
Длина седана - 4825 мм, ширина - 1880 мм, высота - 1469 мм, колесная база - 2800 мм. По габаритам автомобиль полностью совпадает с седаном Geely Preface.Для Volga C50 предусмотрен 2,0-литровый бензиновый двигатель в двух вариантах мощности - 150 л.с. и 200 л.с. Трансмиссия - роботизированная семиступенчатая. Автомобиль может оснащаться 17-дюймовыми и 18-дюймовыми колесами. Ему полагается ABS и система стабилизации, система помощи при экстренном торможении. На всех колесах - дисковые тормоза.
До этого стало известно, какой автомобиль станет кроссовером Volga.
Свежие комментарии